Variationen des Hebels
Ein Beitrag von Walter Kraul (Rudolf-Steiner-Schule in München)
Anregungen zur Mechanik der 7. Klasse
Die mittelalterliche »Hebekunst« kennt folgende »einfache Maschinen«: Ein- und zweiarmiger Hebel, Winde (auch Wellrad genannt), Schiefe Ebene, Keil und die Schraube, verschiedene Getriebe und den Flaschenzug. Alle diese Vorrichtungen wurden geschickt und zweckmäßig eingesetzt, dadurch konnten die relativ schwachen Muskelkräfte von Mensch und Tier verstärkt werden. Das Verrichten ganz erstaunlicher Arbeiten war der sichtbare Erfolg.
Von den aufgezählten einfachen Maschinen ist der Hebel die grundlegende, physikalisch am leichtesten zu durchschauende Vorrichtung. Ein Kollege stellte mir einmal die Frage, ob der Hebel in allen anderen einfachen Maschinen zu finden sei. Natürlich findet man den Hebel immer wieder, aber manchmal hat er sich verwandelt und geschickt versteckt.
AM LÄNGEREN HEBEL SITZEN ….
Zunächst sei das Hebelgesetz in Erinnerung gerufen. - »Am längeren Hebelarm sitzen«, wir kennen das geflügelte Wort, es bedeutet so viel wie irgendwie »im Vorteil sein«. Der Vorteil des Platzes am längeren Hebel ist physikalisch leicht zu begründen: Wer den längeren Hebelarm in der Hand hat, braucht weniger Kraft aufzuwenden als sein Gegenüber, dem nur der kürzere Hebelarm zum Anpacken zur Verfügung steht. Ohne größere Mühe wird das Mädchen in der Zeichnung den ausgewachsenen Mann rechts, der sein ganzes Gewicht einsetzt, etwas heben können.
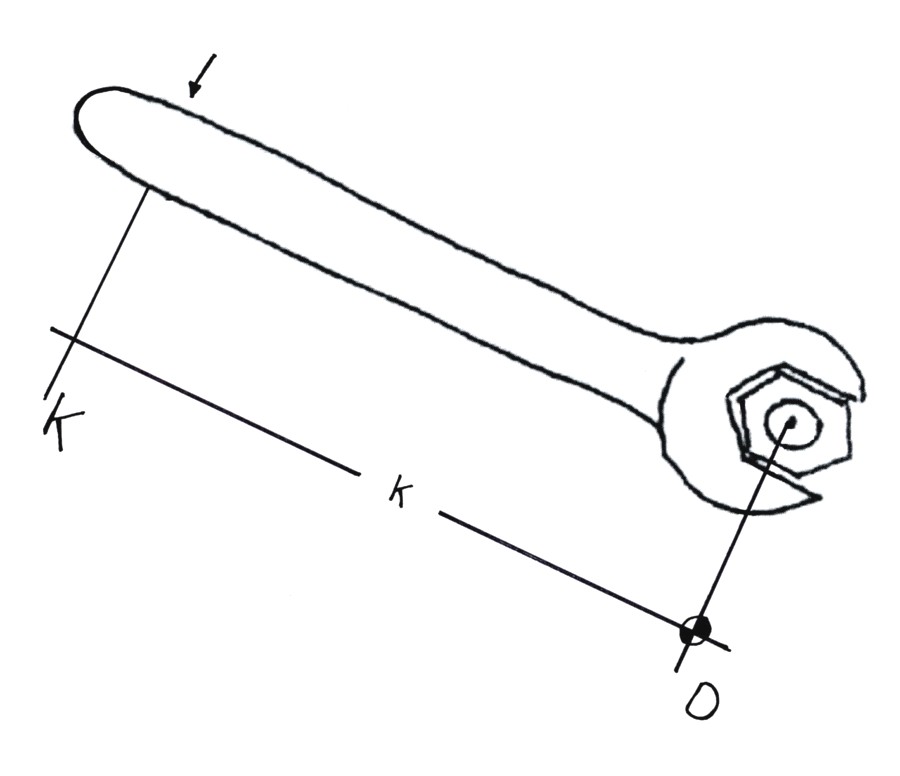
Dies ist die einfachste Art des Hebels, ein »zweiarmiger«. Er hat seinen »Drehpunkt« D auf dem Bock und seine zwei Arme gehen nach links und rechts, man nennt sie »Kraftarm« k und »Lastarm« l. Die Kraft K übt das Mädchen aus, und die Last L stellt der Mann mit seinem Gewicht her. Die unsichtbaren, wohl aber spürbaren Kräfte, macht man in Zeichnungen durch einen Pfeil sichtbar.
Durch eine kleine Variation haben wir eine andere Situation vor uns. Das Mädchen muss diesmal den Hebelbalken nach oben halten, die Last zieht freilich weiterhin nach unten. Beides, Kraft und Last sind jetzt auf der gleichen Seite vom Drehpunkt, der Lastarm überlagert einen Teil des Kraftarmes. Diese Art von Hebel nennt man »einarmig«.
Bei beiden Versuchen wurde das Gewicht des benützten Balkens außer Acht gelassen. Im ersten Fall hilft es dem Mädchen bei seinen Bemühungen, im zweiten Fall muss das Mädchen das halbe Balkengewicht noch mit dazu heben, die andere Hälfte trägt der Bock.
Das »Hebelgesetz« formuliert man meistens in der Form: »Kraft mal Kraftarm ist gleich Last mal Lastarm« (als Formel: K x k = L x l). Ein Übungsfeld für die Anwendung der Algebra! Es ist zu vermuten, dass neben dem Vorteil in allen Hebelanordnungen auch ein Nachteil verborgen ist: Trotz einer beachtlichen Bewegung mit Kraft wird die Last nur wenig gehoben! Der schwere Mann wippt kaum. Man fasst diese Erkenntnis auch als »Goldene Regel der Mechanik« zusammen: »Was man an Kraft spart, muss man an Weg dazulegen«. Dieses Gesetz kann man auch so formulieren: »Die Kräfte stehen im umgekehrten Verhältnis zu ihren Wegen«, denn zu der kleinen Kraft gehört ein großer Weg und zu der großen Last gehört ein kleiner Weg.
Nach diesem Prinzip sind viele Werkzeuge, welche die menschliche Arbeit erleichtern, konstruiert. Im Haushalt beispielsweise Nussknacker, Zange, Kaffeemühle und Schere. Diese seien hier nur erwähnt. Wir wenden uns jetzt Hebelkonstruktionen zu, die kraftverstärkend wirken.
KRAFTVERSTÄRKENDE MASCHINEN: WINDE UND SCHIEFE EBENE
Es sei festgehalten: Jeder Hebel hat einen Drehpunkt und zwei Hebelarme. Eine relativ kleine Kraft am längeren Kraftarm bewirkt eine entsprechend größere Kraft am kürzeren Lastarm. Die Hebel sind »Kraftverstärker«. Diese verstärkte Kraft bewegt sich aber entsprechend weniger als die ursprüngliche. Nach dieser Vorbereitung seien die anderen kraftverstärkenden Maschinen betrachtet. Stets wollen wir nach dem Hebel suchen.
Betrachten wir eine Winde, wie sie über Brunnenschächten Verwendung findet. Eine Walze ist drehbar gelagert über einem Schacht aufgestellt. Eine Handkurbel ist an der Achse befestigt. Auf der Walze wird beim Drehen an der Kurbel ein Seil aufgewickelt, an dessen unterem Ende ein Kübel voll Wasser hängt. Wir entdecken in der Zeichnung einen zweiarmigen Hebel. Der Drehpunkt liegt in der Achse. Der Kraftarm ist die Länge der Kurbel, und Lastarm ist der Radius der Walze. Nach einer viertel Umdrehung an der Kurbel haben wir allerdings einen Winkelhebel vor uns und nach einer halben Umdrehung einen einarmigen Hebel. Nach einer weiteren viertel Umdrehung ist es wieder ein Winkelhebel usw. Zum besseren Verständnis ist hier die Kurbel übertrieben lang gezeichnet.
So eine Winde ist also eine Vorrichtung, in der wie immer der Vorteil der Hebels genutzt und der Nachteil in Kauf genommen wird: Man dreht mit relativ wenig Kraft an einer langen Kurbel und muss dabei eine ziemlich große, kreisförmige Bewegung machen. Der schwere Eimer voll Wasser kommt nur langsam nach oben. Dabei wird das Seil stets links aufgewickelt, die Kurbel wird jedoch im Kreis herum geführt, daher der stete Wechsel in der Art des Hebels.
Es drängt sich an dieser Stelle eine Frage auf: Was passiert, wenn der Mensch die Kurbel loslässt? Der Wasserkübel wird hinuntersausen, und die Kurbel kann dem Menschen das Handgelenk zerschlagen.
So eine Winde ist eine gefährliche Vorrichtung! Deshalb baut man eine »Sperrklinke« ein. Dies ist ein kleines Hebelchen, das in ein Zahnrad mit unsymmetrischen Zähnen eingreift und dadurch ein Zurückschlagen verhindert. Das Zahnrad ist fest mit der Walze verbunden.
Eine weitere kraftverstärkende Maschine ist die Schiefe Ebene. Ob wir dort auch den Hebel entdecken können? Ein Drehpunkt, der eigentlich zu jedem Hebel gehört, ist sicher nicht zu finden.
Zwei gleichschwere Kisten stehen am Boden vor einer Rampe und sollen dort hinaufbefördert werden. Ein starker Mann wird die Kiste anpacken, hochstemmen und auf die Rampe stellen, fertig. Ein nicht so starker Mensch wird die Kiste B auf eine rollende Unterlage stellen, z.B. auf eine Sackkarre, und die schiefe Ebene hinaufschieben, er muss sich nicht so sehr, aber länger anstrengen. Das Mehrgewicht durch den Karren nimmt er in Kauf. Auf dem großen Weg in längerer Zeit, aber mit geringerem Kraftaufwand erreicht er das gleiche Ergebnis wie sein Kollege mit großem Kraftaufwand und kürzerem Weg in kürzerer Zeit. Auch in der Schiefen Ebene liegt also der Hebel verborgen: Die Länge der Schiefen Ebene ist der Kraftarm, ihre Höhe ist der Lastarm. Das Gewicht der Kiste ist die Last. Die Kraft ist jene, mit der man die Kiste hinaufschiebt, sie ist die geringe Kraft am langen Hebelarm. Wir haben also ähnliche Verhältnisse wie bei den Hebeln wiedergefunden, nur ohne Drehpunkt. - Die Schiefe Ebene ist eigentlich kein Kraftverstärker, wohl aber ein Kraftsparer, was auf das Gleiche hinausläuft.
Anders ist die Sache mit einem Fass auf der Schiefen Ebene. Der Mann auf der Zeichnung ist klug: Er rollt das Fass hinauf, und damit geht es noch einmal leichter. Warum? Weil an der Auflage des Fasses ein mitwandernder Drehpunkt ist. Der Mann greift am Umfang des Fasses an und hat damit einen Kraftarm (der Durchmesser des Fasses), der doppelt so lang ist wie der Lastarm (Radius des Fasses). Das Gewicht bzw. nur ein Teil davon, der Hangabtrieb des Fasses, greift in der Mitte an, im Schwerpunkt. Das gilt für ein volles oder ein leeres Fass, aber nicht für ein teilweise gefülltes. Die zum Rollen des Fasses benötigte Kraft ist die Hälfte des Hangabtriebes, wenn das Fass nach ganz oben geschoben wird.
Der Keil ist eine kleine, transportable Schiefe Ebene. Am Keil gelten die Ausführungen, die über die Schiefe Ebene gemacht wurden, sinngemäß: Der Keil wird durch den Schlag stärker in das Holz getrieben, als das Holz auseinandergedrückt wird. Daher ist die spaltende Kraft noch größer als die Kraft durch den Schlag. Also steckt auch im Keil das Hebelgesetz. An Stelle der Höhe ist hier die Dicke des Keiles anzusetzen. Das Beil und alle Messer sind Keile im weiteren Sinn. Auch diese Werkzeuge wirken als Kraftverstärker.
SCHRAUBE UND PRESSE
Wer ein Dreieck aus Papier zu einer Rolle wickelt, hat das Bild einer Schraube. Man kann also vermuten, dass zwischen einer Schraube und einer schiefen Ebene und damit auch zwischen Schraube und Hebel eine gewisse Beziehung besteht. Sehen wir uns eine Presse an. Bei kräftiger Drehung am Knebel wird das Buch noch viel stärker zusammengepresst. Hätten wir etwa die Hand dazwischen, so würden wir die Presskraft als außerordentlich unangenehm empfinden. Die Kraft können wir schwer messen, wir können aber die Wege vergleichen: Wenn wir mit der Hand am Knebel als Kraftarm die Spindel einmal herumgedreht haben (der Weg ist 2 r n), geht die Schraube nur ein winziges Stück um eine »Ganghöhe« weiter. Der Knebel ist also der Kraftarm und die Ganghöhe der Spindel der Lastarm. Im umgekehrten Verhältnis wie die Wege von Hand und Schraube stehen ihre Kräfte.
An der Spindel werden wir also wegen ihres kurzen Weges gewaltige Kräfte vorfinden, weil wir zum Schluss am Knebel gewöhnlich mit aller Kraft ziehen. In der Achse der Spindel entdecken wir wieder einen Drehpunkt. Eine Menge Kraft geht jedoch durch die Reibung verloren, dafür ersetzt die Reibung im Gewinde die Sperrklinke. Statt des verschiebbaren Knebels können wir auch einen abnehmbaren Schraubenschlüssel verwenden, falls am oberen Ende der Spindel eine passende Ansatzmöglichkeit zu finden ist. Ein Schraubenschlüssel ist also ein abnehmbarer Kraftarm, den man in die Tasche stecken kann
AM KLEINEREN RAD SITZEN
Getriebe können ebenfalls eine kraftverstärkende Wirkung haben. Wir vermuten daher, auch in diesen Vorrichtungen den Hebel zu finden. In der Zeichnung sind zwei Räder dargestellt, ein größeres und ein kleineres, durch eine Schnur bzw. einen Riemen verbunden. Sie drehen sich gleichzeitig und in gleicher Richtung. Beide sind mit einem Handgriff ausgestattet, und zwar in gleicher Entfernung von der Achse, damit nicht noch eine andere unerwünschte Hebelwirkung dazukommt. Um das große Rad einmal herumzudrehen, muss man am kleineren öfters gedreht haben. Ist das große Rad doppelt so groß wie das kleine, so muss man das kleine zweimal herumgedreht haben, also hat die Hand den doppelten kreisförmigen Weg gemacht wie die freie Kurbel am großen Rad. Das kleine Rad war der »Antrieb« und das große Rad der »Abtrieb«. Es handelt sich um eine »Untersetzung«. Wenn jemand das langsame große Rad am Griff aufhalten will, muss er doppelt so stark sein wie der am kleinen Rad. - Merkwürdig, wenn zwei Drehpunkte gegeben sind, hat derjenige einen Vorteil, der am kleineren Rad sitzt. Es herrschen hier also die umgekehrten Verhältnisse, als wir sie am Anfang dieses Aufsatzes kennengelernt haben. Woher mag das kommen? Wer an der Kurbel des kleinen Rades in Pfeilrichtung dreht, zieht über den oberen Teil der Verbindungsschnur am großen Rad. Also sitzt er zwar am kleinen Rad, er zieht aber am großen Rad und damit am längeren Hebelarm. Wieder gilt also das Hebelgesetz!
Bei Zahnrädern liegen die gleichen Verhältnisse vor, die Drehrichtungen der beiden Räder sind jedoch verschieden. Es bleibt die Regel bestehen: Wer am kleinen Rad dreht, kann das große Rad mit mehr Kraft drehen als der, der am großen dreht, und umgekehrt.
Vorausgesetzt sind wieder zwei gleichlange Hebel, also gleicher Abstand der Griffe von den Achsen. Diesmal ist dem kleinen Rad eine Kurbel gegeben, die so lang ist wie der Radius des großen Rades. Das Kräfteverhältnis lässt sich in diesem Fall an den Zähnen abzählen: Hat das kleine Rad 8 Zähne und das große 24, so ist die Kraft an den Zähnen des großen Zahnrades dreimal so stark wie die Kraft an der Kurbel.
Die Winde wird häufig mit einem Zahnradgetriebe kombiniert. Die Zeichnung zeigt eine solche Vorrichtung, wie sie bei Reparaturarbeiten an Häusern manchmal verwendet werden. Die Kurbel am kleinen Zahnrad ist der lange Hebelarm. Wenn er 20 Zentimeter lang ist und die Walze 10 Zentimeter Durchmesser, also 5 Zentimeter Radius hat (= kurzer Kraftarm), ist das Verhältnis 4:1. Die Muskelkraft wird vervierfacht. Durch die zwischengeschalteten Zahnräder mit z.B. 12 bzw. 60 Zähnen wird die nötige Kraft zusätzlich auf ein Fünftel reduziert. Das ergibt insgesamt eine Verstärkung der Kraft auf das Zwanzigfache. Nehmen wir an, ein Kübel voll Mörtel wiegt 20 Kilogramm, dann ist an der Kurbel nur noch ein Kilogramm Kraft nötig. Tatsächlich wird wegen der Reibung etwas mehr Kraft benötigt werden. Damit ist erwiesen, dass man sehr wohl in allen einfachen Maschinen das Hebelgesetz wiederfindet. Es ist erstaunlich, wie sich der Hebel verändern kann, ohne seine Gesetzmäßigkeit zu verlieren.
Eine besondere Anwendung des Hebelgesetzes finden wir beim Flaschenzug. Wir wenden uns nun aber Vorrichtungen zu, in denen das Hebelgesetz in verschiedenen Kombinationen angewendet wird.
KURBEL, SCHIFF UND FAHRRAD
Dabei wagen wir gleich einen großen Sprung. In der Zeichnung ist ein Schiff dargestellt, das auf einer Schiefen Ebene aus dem Wasser gezogen wird. Dazu verwendet man eine Winde mit Zahnradgetriebe, und das Seil ist flaschenzugmäßig geführt. Nehmen wir an, das Schiff wiegt 1,2 Tonnen. Es ist die Frage, mit welcher Kraft es mit Hilfe der genannten Vorrichtungen aus dem Wasser gezogen werden kann, d.h. wie stark der Mann an der Winde sein muss.
Wenn die Steigung des Ufers 1:10 ist, d.h. wenn das Ufer auf 10 Meter um einen Meter steigt, ist die nötige Kraft nur noch 1/10, also statt 1.200 Kilogramm nur noch 120 Kilogramm. Durch die Seilführung wirkt die Rolle am Schiff wie eine lose Rolle, welche die nötige Kraft halbiert. Wir sind bei 60 Kilogramm. Die Kurbel sei 30 Zentimeter lang und die Walze der Winde habe 10 Zentimeter Durchmesser, also 5 Zentimeter Radius Dadurch ist die notwendige Kraft nur noch 1/6 von vorher, das sind 10 Kilogramm. Schließlich habe das große Zahnrad 48 Zähne und das kleine 12. Das Verhältnis ist 4 : l Es muss die Kurbel viermal gedreht werden, bis die Walze sich einmal gedreht hat. Dies bewirkt eine weitere Teilung der nötigen Kraft durch 4. Folglich muss nur mit 2,5 Kilogramm an der Kurbel gedreht werden, wozu ein Mensch nicht einmal besonders stark zu sein braucht. Wie herum muss er eigentlich drehen? - In dieser Rechnung ist allerdings die Reibung außer Acht gelassen, tatsächlich werden wir eine etwas größere Kraft anwenden müssen.
Als ein weiteres Anwendungsbeispiel besonderer Art sei hier noch das Fahrrad betrachtet. Die wesentlichen Bauteile eines Fahrrades sind die Pedale, ein bis zwei Zahnräder vorne, die Kette, das kleine Zahnrad oder ein Zahnkranz hinten mit dem Hinterrad. In dieser Reihenfolge wandert auch die Kraft unsichtbar durch das Fahrrad. Beim Tritt auf das Pedal, einen längeren Hebelarm, wird die Kraft über das größere Zahnrad zunächst auf den oberen Teil der Kette übertragen. Die Kraft in der Kette ist größer als die Kraft am Pedal, weil das Zahnrad am Tretlager einen kleineren Radius hat als der Pedalhebel lang ist. Wir werden an die Verhältnisse bei der Winde erinnert. Die Kette gibt jedoch die Kraft an das kleinere Zahnrad auf der Achse des Hinterrades weiter. Wenn ein größeres Rad ein kleineres treibt, ist das eine Übersetzung. Dies bedeutet, dass sich das Hinterrad schneller dreht als getreten wird, dass es aber weniger Kraft hat. Das kleinere Zahnrad gibt die Kraft über Achse, Speichen, Felge und Reifen an den Boden, also die Straße, weiter. Die Kraft wird dadurch nochmals wesentlich verringert, denn das Hinterrad ist größer als das kleine treibende Zahnrad. Weil die Straße nicht nachgibt, wird das Fahrrad samt Radfahrer vorwärts getrieben. Es müssen nur die Reibung in den Radlagern (Kugellager), die Reibung zwischen Reifen und Straße sowie der Luftwiderstand überwunden werden. Das Fahrrad ist demnach eine Vorrichtung mit mehreren Anwendungen des Hebels. Die Hebel werden aber außer beim Übergang vom Pedal zur Kette nicht als Kraftverstärker eingesetzt, sondern als »Geschwindigkeitsverstärker«. Die auftretende Kraft lässt natürlich in der Stärke entsprechend nach. Das ist hinnehmbar, denn ein eben dahinrollendes Rad braucht zur Fortbewegung nicht viel Kraft.
Wenn es jedoch bergauf geht, sieht die Sache anders aus. Durch Schalten kann sich der Radfahrer helfen: Vorne ein kleineres Zahnrad verstärkt die Kraft in der Kette. Hinten ein größeres Zahnrad macht den Unterschied zum Reifen hin kräftemäßig günstiger. Die Folge ist, dass es leichter zu treten geht, aber das Rad fährt entsprechend langsamer.
Archimedes soll einmal geäußert haben, er könne die Welt aus den Angeln heben, wenn er nur einen festen Punkt hätte. Dieser Ausspruch deutet die Macht dessen an, der am längeren Hebelarm sitzt. Allerdings ist noch die Frage, ob Archimedes einen genügend langen und entsprechend kräftig gebauten Hebel dazu gefunden hätte! Im täglichen Leben kann man nach realen Variationen des Hebels Ausschau halten, deren gibt es unzählige.
Auf diesen Beitrag wurde der Waldorf-Ideen-Pool durch die Zeitschrift ERZIEHUNGSKUNST aufmerksam.
